レイアウト
Body

株式会社テレビ高知様は2015年11月、災害対策を考慮して、本館部分を建て替えました。新社屋にはニューススタジオが新設され、そこには当社の新型ライブスイッチャーAV-HS7300と新OTC(ワンタッチコントローラ)システムを採用、2016年4月から、ニュース番組/情報番組を含めて本格稼働されています。OTCはメインのOPT(オペレーションタッチパネル端末)やOTC制御装置、残時間表示端末、16面操作端末などで構成され、キューシートを登録するための支援システムと連携。直感的に操作できるOTCが、放送内容の変更や素材の差し替えが頻繁に発生するニュース番組/情報番組を中心に、日々の放送業務の効率化、安定した番組進行・送出に大きく貢献しています。

メディアとテキスト(最大 9)
Behaviour state
Lightbox triggered by Thumbnail
テキスト
株式会社テレビ高知様
Media
写真:株式会社テレビ高知様
Behaviour state
Lightbox triggered by Thumbnail
テキスト
3MEで構築されたライブスイッチャーAV-HS7300。
Media
写真:3MEで構築されたライブスイッチャーAV-HS7300
Behaviour state
Lightbox triggered by Thumbnail
テキスト
全体把握しながら操作ができる様に操作フローを見直し、シンプルな使いやすさを追求したOTCシステム。OPT画面内へもTAKEボタンを搭載し、物理的なTAKEボタンの万一の故障に対応。
Media
写真:全体把握しながら操作ができる様に操作フローを見直し、シンプルな使いやすさを追求したOTCシステム。OPT画面内へもTAKEボタンを搭載し、物理的なTAKEボタンの万一の故障に対応
タイトル
デザインが一新されたOPT画面
Body

現場が長年親しんだ操作感を継承する一方、使いやすく視認性の良い、新開発・新デザインのGUIをはじめ、様々な運用操作性を改善。

メディアとテキスト(最大 9)
Behaviour state
Lightbox triggered by Thumbnail
テキスト
各番組を一覧表示したOPT画面。
Media
写真:各番組を一覧表示したOPT画面
Behaviour state
Lightbox triggered by Thumbnail
テキスト
番組進行と連動したOPT画面。
Media
写真:番組進行と連動したOPT画面
Behaviour state
Lightbox triggered by Thumbnail
テキスト
新OTCシステムに新たに追加された見やすい素材確認画面。
Media
写真:新OTCシステムに新たに追加された見やすい素材確認画面
Behaviour state
Lightbox triggered by Thumbnail
テキスト
16面操作端末画面 - 番組中のディレクターによる、状況に応じた急な素材差し替えへ直感的に対応。
Media
写真:16面操作端末画面 - 番組中のディレクターによる、状況に応じた急な素材差し替えへ直感的に対応
Behaviour state
Lightbox triggered by Thumbnail
テキスト
残時間表示端末 - 番組開始までの時間やVTRの残時間、オシマキ時間などを表示する残時間表示端末。
Media
写真:残時間表示端末 - 番組開始までの時間やVTRの残時間、オシマキ時間などを表示する残時間表示端末
Behaviour state
Lightbox triggered by Thumbnail
テキスト
報道支援端末 - 報道フロアーはもちろん、サブ内でもキューシートの変更作業が可能。
Media
写真:報道支援端末 - 報道フロアーはもちろん、サブ内でもキューシートの変更作業が可能
タイトル
お客様の声
Band body

株式会社 テレビ高知
報道・技術センター
部長 制作技術担当 渋谷隆志 様
主任 技術担当 坂本直由喜 様

近年の調査で、万一の地震の際、局舎周辺には約3メートルの津波が押し寄せる可能性があると想定されていることがわかり、安全のため、報道の使命をきっちりと果たすために、本館部分を建て替えました。サブコントロールルームはもちろん、電気系統の設備も上層階に設置したこの新しい局舎は平成27年(2015年)の11月に完成・使用開始したのですが、これにあわせてサブの設備をこれまで使用していたシステムをオーバーホールするか、新しく構築するか、検討を重ねてきました。以前から使用していたシステムは平成19年(2007年)10月にHD化し約8年経過していました。中でもOTC(ワンタッチコントローラ)は報道スタッフが使用するため、これまでの使い慣れた環境を大きく変更すると、日々の運用に負担がかかります。一方で番組構成や表現方法の多様化により、ひとつの番組に対してより多くの情報を扱うために、OTCの操作だけでより多くの対応をする必要性も感じていました。検討を重ねた結果、パナソニックさんのシステムで一新する結論にいたりました。新しいOTCが魅力的だったこと、これまで使用していたシステムがパナソニック製で使い慣れていたこともありますが、これまで保守面で対応が柔軟だったことも選択した理由のひとつです。
新しいOTCは一言で表すと、純粋に“使いやすい”です。OTCの条件として、安定していること、使いやすいことがあげられますが、この条件を満たしていると感じています。実際使う報道スタッフにとって使い勝手の良いシステムにしたかったので、パナソニック製にして正解でした。
現在、OTCはお昼前のニュースと夕方のニュース番組『イブニングKOCHI』をメインに活用しています。操作が簡単なこともあり、例えば新しくスタッフが配属されても早い段階から“使いこなせる”ようになっています。
また、番組は少人数で対応できています。日常的な放送時は余剰な人数を割くことができないため、ひとりが何役もこなさなくてはなりません。万一の災害時にはフルメンバーが対応できるとは限りません。そのため、少数で放送できる事は放送事業者にとって大きなメリットになります。
新しいOTCは、画面が4:3から16:9になり、デザインも一新されたことで、OPTに表示できる情報量が増えました。同時に採用した3ME仕様で構築したライブスイッチャーAV-HS7300との連携も円滑です。ロゴなどをループさせたいシーンが多いのですが、その機能もアイコンでOTCに実装しました。動画クリップの呼び出しも、OTCからAV-HS7300の動画クリップを再生する機会が多いので便利です。
さらに、情報番組『テレっちのたまご』は制作の番組なので本来はOTCを使用しないのですが、スタジオ内の再撮の画面変更をOTCで行っています。マニュアル運用でありながら、再撮だけはOTCに素材を並べておいて送出するハイブリッド運用です。
情報量の多い16:9の画面にデザイン変更され、インターフェースはもちろん、機能面においても、少人数で円滑に運用できるOTCに仕上がったと考えています。今後も様々な機器との連携など、IP化、4K/8Kなど時代が進むにつれてシステムの“連携”がより一層重要になると思います。私達から、そしてパナソニックさんから、お互いが意見をだしあって、今後も一緒にシステム構築をお手伝いしてもらいたいですね。
最後に、開発・施工でパナソニックさんには大変なご協力をいただいたと感じています。長期間、ほぼ毎日の作業でしたので、とにかく大変だったと思います。このご協力体制にも本当に感謝しています。

メディアとテキスト(最大 3)
Behaviour state
Lightbox triggered by Thumbnail
テキスト
株式会社 テレビ高知<br>
報道・技術センター<br>
部長 制作技術担当 渋谷隆志 様(左)<br>
主任 技術担当 坂本直由喜 様(右)<br>
Media
写真:株式会社 テレビ高知 報道・技術センター 部長 制作技術担当 渋谷隆志 様(左) 主任 技術担当 坂本直由喜 様(右)
タイトル
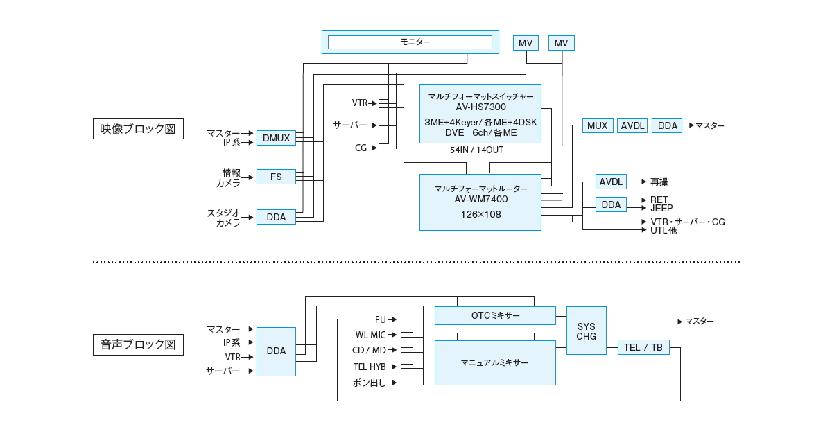
システム構成図
メディアとテキスト(最大 3)
Behaviour state
Lightbox triggered by Thumbnail
Media
システム構成図
タイトル
主な納入機器 ソリューション
Band body

ラック実装機器

  • ライブスイッチャー AV-HS7300シリーズ
  • ルーティングスイッチャー AV-WM7400シリーズ
  • ペリフェラル棚
    DMUXユニット、FS+DMUXユニット、DDAユニット
    2chDDAユニット、FSユニット、AVDLユニット
  • 16分割マルチビューワー
  • アラーム監視サーバー

操作卓

  • SW卓
  • OTC卓
  • 天カメ操作卓
  • コーディネート卓

OTC関連

  • OTC 装置 AV-SA3000
  • OTC IF 棚
  • パラレル64IF棚
  • OTC関連パネル
  • OTCサーバー
  • OPT 端末
  • 16 面操作端末
  • 残時間表示端末
  • デスク端末
  • 取材予定一覧モニター端末

モニター棚

  • 映像モニター棚関連機器
  • 音声モニター棚関連機器
表示日付
サブタイトル
ニュースOTCスタジオサブシステム
場所
四国
業界タイプ
商品・システム名
ヘッダ用画像(小)
Name
case0361-main
toyoda
Image
写真:OTCシステムとライブスイッチャーAV-HS7300を軸に構成されたニューススタジオサブ
マイグレーション用ケーススタディ
Yes
説明
報道番組を簡単操作で送出。安定した番組進行・送出と放送業務の効率化を実現。
問い合わせ先グループ
並び替え用日時
URLパス
/kutv
PDFファイルの選択
Display title
株式会社テレビ高知様
PSD Category multiple
PIM Category multiple